Крюк У623 Б У3
цена за штук
Данная цена товара неактуальна. Подборку предложений с актуальной ценой смотрите ниже на этой странице или в разделе
- Наличие на складе:
- не указано
- Доставка:
-
не указано
Описание и характеристики
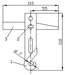
КРЮК У623Б
Предназначен для подвешивания светильников к перекрытиям из железобетонных плит при электропроводках напряжением до 250В. Планка крюка переставляется на соответствующее отверстие в зависимости от размера плиты перекрытия.
Изготавливаются крюки из стали с гальваническим покрытием, конец крюка изолирован. ТУ 36 - 1451 - 82.
Цена действительна до 30.10.2015 г., после чего стоимость необходимо уточнить у поставщика.
Поставщик:
ООО "ПЭМК"
- Рязань, Рязанская область
- 391000, г. Рязань, 197 км, Окружная дорога, 2
- Написать сообщение
